Contact us More +

Consultation(Tel) +86 13417452824 Email:bella@szbbhkj.com
Address:1408, Tongfang central building, intersection of xiner community Central Road and HouXiang Road, Xinqiao street, Bao'an District, Shenzhen

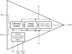
OPA462 Power operational amplifier

180V, high bandwidth (6.5mhz), high slew rate (25V / µ s), unit gain stable operational amplifier

Phone: +86 13417452824
  • 24 services
  • guarantee
  • Fast delivery
Product Message Telephone