Contact us More +

Consultation(Tel) +86 13417452824 Email:bella@szbbhkj.com
Address:1408, Tongfang central building, intersection of xiner community Central Road and HouXiang Road, Xinqiao street, Bao'an District, Shenzhen

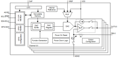
DAC63004

具有 I2C、SPI、PWM 的超低功耗 4 通道 12 位智能 DAC

Phone: +86 13417452824
  • 24 services
  • guarantee
  • Fast delivery
Product Message Telephone